US Patent 9,177,603 B2 (“Method of Assembling an Enhanced Media Content Narrative”)
- Christopher Bailey

- Jun 30, 2025
- 2 min read
US Patent 9,177,603 B2 (“Method of Assembling an Enhanced Media Content Narrative”)
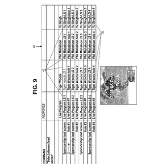
Patent Scope & Core Innovations • Chapter–Subchapter Architecture: Defines a data model for organizing linear video into hierarchical “chapters” and “sub-chapters,” each tagged with metadata (e.g., transcripts, object/face identifiers, timestamps). • Dynamic Narrative Assembly: Covers methods for on-the-fly construction of custom video streams by selecting and concatenating sub-chapters based on user queries, preferences, or algorithmic recommendations. • Metadata-Driven UI Interactions: Claims the user-interface routines that let viewers pick story branches, switch angles, or hop between related segments without interrupting playback. • Seamless Transitions: Specifies artifact-free stitching of disparate sub-chapters via precise key-frame alignment and buffer-less handoff.
Technical Differentiation – Unlike basic indexing patents, this invention codifies the end-to-end pipeline from metadata ingestion through real-time narrative output—embedding intelligence in both server and client layers. – It anticipates advanced use cases such as “choose-your-own-adventure” documentaries, personalized highlight reels, and AI-driven storyline recommendations.
Strategic Value to Intension – Tightens Our IP Moat: Works in tandem with US 7,669,128 B2 to block copycats from re-engineering both the “jump-to” and “assemble-on-demand” aspects of interactive video. – Broad Licensing Potential: Empowers us to license narrative-assembly routines to e-learning platforms, digital publishers, and in-venue display systems—each integration triggering subscription, SaaS, or OEM fees. – Investor Confidence & Exit Leverage: Strengthens due diligence profiles, signaling to acquirers and public-market investors that Intension controls foundational interactive-video workflows.
Commercial Upside – Projected Licensing Revenue: Assuming 10 OEM deals at $400K/year for device makers and enterprise portals, plus 20 SaaS partnerships at $75K/year, this patent alone could underpin $8M–$12M in recurring IP royalties over its remaining life. – Cross-Vertical Expansion: From corporate training and virtual events to immersive journalism and film festivals, US 9,177,603 B2 accelerates our entry into any segment that demands curated, interactive storytelling.
By securing the full narrative-assembly process—from metadata tagging through user-driven story construction—Patent US 9,177,603 B2 is a cornerstone of Intension’s competitive advantage and long-term revenue engine.













Comments